

Каталог продукции
Бесплатная консультация
Корзина пустаПриборы для измерения давления. Приборы для измерения температуры. Горелки газовые блочного типа. Форсунки. Пилотные горелки. Для безопасной работы установок работающих на сжигании газообразного, жидкого или твердого топлива основным параметром безопасности является контроль наличия и погасания пламени. Автоматика управления котлами, горелками, котлоагрегатами, теплогенераторами, печами. Устройства автоматизации. Котельное оборудование. Оборудование для узлов учета, датчики давления.
Компания ОВЕН предлагает самый широкий среди российских производителей ассортимент выпускаемой продукции. Он включает в себя более 80 наименований приборов, которые могут использоваться для построения систем автоматизации любого уровня: - Программируемые логические контроллеры (ПЛК); модули ввода/вывода; операторские панели; преобразователи интерфейса. - Общепромышленные регуляторы, регуляторы уровня, специализированные контроллеры, таймеры, счетчики, блоки питания. - Датчики: температуры, давления, уровня. Спектр отраслей промышленности, где работают приборы ОВЕН, очень широк и включает в себя химические и нефтехимические производства, металлургические и деревообрабатывающие предприятия, пищевую и упаковочную отрасли, энергетику, жилищно-коммунальное хозяйство и многие другие.
Приборы для измерения и регулирования температуры, влажности, вакуума под маркой ТЕРМОДАТ и МЕРАДАТ. Модельный ряд приборов охватывает как простейшие одноканальные измерители, так и сложные многоканальные регуляторы с большим графическим дисплеем.
Широкий спектр клапанов различной конфигурации и назначения.
Клапаны электромагнитные соленоидные
Катушки для клапанов
Реле времени для клапанов
Коннекторы
Подробная информация на нашем русскоязычном сайте - http://пкип.рф/catalog/
ЗАО «Росма» на сегодняшний день является одним из крупнейших отечественных производителей контрольно-измерительных приборов, прочно входя в пятерку лидеров рынка в данной области. Одни из самых популярных приборов это - Манометры, Термометры, Термоманометры, Разделители сред, Клапаны электромагнитные (соленоидные), Датчики и реле давления, Преобразователи давления, Датчики уровня.
Предназначены для предотвращения выхода из строя электродвигателей и агрегатов на их основе при возникновении недопустимых режимов работы, обусловленных различными эксплуатационными факторами: технологическими перегрузками; поломками и заклиниванием механизмов; холостом ходе; асимметрией питающей сети или неисправностью коммутационной аппаратуры. Обеспечивают защитное отключение электродвигателя при возникновении недопустимых (аварийных) режимов работы: перегрузке по току; недогрузке по току; неполнофазном режиме работы; превышении допустимого дисбаланса токов. Уникальным свойством приборов является наличие функции мониторинга – непрерывного наблюдения за работой электродвигателей, регистрации режимов и событий, накопления статистических данных о работе электродвигателей и агрегатов на их основе, защиты электродвигателей.

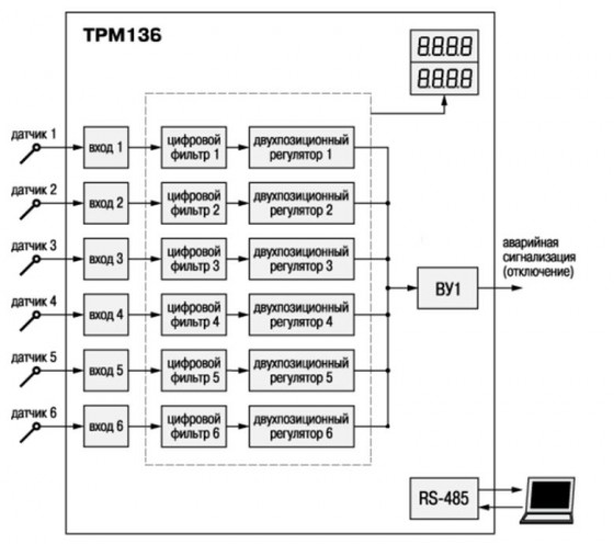
Добавить в корзинуИзмеритель-регулятор универсальный шестиканальный ТРМ136 предназначен для
построения автоматических систем контроля и регулирования производственными
технологическими процессами в металлообрабатывающей, пищевой, химической, деревообрабатывающей, в производстве строительных материалов и в других областях промышленности.
ТРМ 136 предназначен для измерения и регулирования температуры, давления и др. физических величин. Он может управлять до 6 исполнительными механизмами, вести регистрацию измерений на ЭВМ.
ТРМ136 является аналогом прибора ТРМ138.
|
Наименование |
Значение |
|
Диапазон напряжений питания |
от 90 до 264 В переменного (от 47 до 63 Гц) тока |
|
Потребляемая мощность, ВА, не более |
18 |
|
Количество измерительных входов в приборе |
6 |
|
Время опроса одного канала, с, не более |
0,6 |
|
Напряжение встроенного источника питания |
(24±3) В постоянного тока (максимум 150 мА) |
|
Интерфейс связи с компьютером |
RS-485 |
|
Скорость передачи данных по протоколу, кбит/с: ОВЕН, Modbus-RTU, Modbus-ASCII |
2,4; 4,8; 9,6; 14,4; 19,2; 28,8; 38,4; 57,6; 115,2 |
|
Габаритные размеры корпуса Щ7, мм |
144 ´ 169 ´ 50,5 |
|
Масса прибора, кг, не более |
1,0 |
|
Наименование ВУ (обозначение типа) |
Технические характеристики |
Значение |
|
Реле электромагнитное (Р) |
Максимальный ток нагрузки |
1 А |
|
Максимальное напряжение нагрузки |
250 В 50 Гц и cos j >0,4 |
|
|
Максимальное напряжение нагрузки постоянного тока, не менее |
30 В |
|
|
Оптопара транзисторная n-p-n-типа (К) |
Максимальный ток нагрузки, не менее |
400 мА |
|
Максимальное напряжение, не менее |
60 В постоянного тока |
|
|
Оптопара симисторная (С) |
В режиме управления внешним симистором: |
|
|
ток (при длительности импульса не более 2 мс и частоте (50 ±1) Гц), не менее |
400 мА |
|
|
действующее напряжение, не менее |
250 В, 50 Гц |
|
|
В режиме коммутации нагрузки: |
||
|
ток нагрузки, не менее |
40 мА |
|
|
действующее напряжение, не менее |
250 В, 50 Гц |
|
|
Выход для управления внешним твердотельным реле (Т) |
Выходное напряжение холостого хода |
(6 ±0,5) В постоянного тока |
|
Выходное напряжение на нагрузке 250 Ом, не менее |
от 3,3 до 4,9 В постоянного тока |
|
|
Ток короткого замыкания |
от 50 до 72 мА |
|
|
ЦАП «параметр-ток» (И) |
Выходной сигнал постоянного тока |
от 4 до 20 мА |
|
Сопротивление нагрузки |
от 0 до 1300 Ом |
|
|
Номинальное сопротивление нагрузки |
700 Ом |
|
|
Напряжение питания ЦАП |
от 10 до 36 В |
|
|
Номинальное напряжение питания ЦАП |
(24,0 ±3,0)В |
|
|
ЦАП «параметр-напряжение» (У) |
Выходной сигнал постоянного напряжения |
от 0 до 10 В |
|
Сопротивление нагрузки, не менее |
5 кОм |
|
|
Напряжение питания ЦАП |
от 15 до 36 В |
|
|
Номинальное напряжение питания ЦАП |
(24,0 ±3,0) В |
|
|
Условное обозначение НХС преобразователя |
Диапазон |
Значение |
Пределы |
|
Термометры сопротивления по ГОСТ Р 8.625 |
|||
|
Cu 50 (a =0,00426 °С-1) |
от –50 до 200 °С |
0,1 °С |
±0,25 |
|
50 М (a =0,00428 °С-1) |
от –190 до 200 °С |
0,1 °С |
|
|
Pt 50 (a =0,00385 °С-1) |
от –200 до 750 °С |
0,1 °С |
|
|
50 П (a =0,00391 °С-1) |
от –200 до 750 °С |
0,1 °С |
|
|
Cu 100 (a =0,00426 °С-1) |
от –50 до 200 °С |
0,1 °С |
|
|
100 М(a =0,00428 °С-1) |
от –190 до 200 °С |
0,1 °С |
|
|
Pt 100 (a =0,00385 °С-1) |
от –200 до 750 °С |
0,1 °С |
|
|
100 П (a =0,00391 °С-1) |
от –200 до 750 °С |
0,1 °С |
|
|
Термоэлектрические преобразователи по ГОСТ Р 8.585 |
|||
|
TХК (L) |
от –200 до 800 °С |
0,1 °С |
±0,5 ±0,25** |
|
TЖК (J) |
от –200 до 1200 °С |
1 °С |
|
|
TНН (N) |
от –200 до 1300 °С |
1 °С |
|
|
TХА (К) |
от –200 до 1300 °С |
1 °С |
|
|
TПП (S) |
от 0 до 1750 °С |
1 °С |
|
|
TПП (R) |
от 0 до 1750 °С |
1 °С |
|
|
TВР (А-1) |
от 0 до 2500 °С |
1 °С |
|
|
Унифицированные сигналы постоянного напряжения и тока по ГОСТ 26.011 |
|||
|
Ток от 0 до 5 мА |
от 0 до 100 % |
0,1 % |
±0,25 |
|
Ток от 0 до 20 мА |
от 0 до 100 % |
0,1 % |
|
|
Ток от 4 до 20 мА |
от 0 до 100 % |
0,1 % |
|
|
Напряжение от 0 до1 В |
от 0 до 100 % |
0,1 % |
|
|
Сигнал постоянного напряжения |
|||
|
от –50,0 до 50 мВ |
от 0 до100 % |
0,1 % |
±0,25 |
|
*) Приборы, работающие с термопреобразователями сопротивления **) с отключенной схемой КХС |
|||
Примечание – Допускается применение нестандартизованного медного термометра сопротивления с R0= 53 Ом (a = 0,00426 °С-1) и диапазоном измерений от минус 50 до плюс 200 °С.
Телефон в Перми +7 (342) 270-02-27.
Задайте ваш вопрос он-лайн,
чтобы получить развернутый ответ на e-mail
Обращаем Ваше внимание на то, что вся представленная на сайте информация, касающаяся комплектаций, технических характеристик, а также стоимости оборудования носит информационный характер и ни при каких условиях не является публичной офертой, определяемой положениями Статьи 437 (2) Гражданского кодекса Российской Федерации.