ПР225 – новое программируемое реле в щитовом корпусе с графическим дисплеем и Ethernet. Прибор сочетает в себе оптимальную конфигурацию аналоговых и дискретных входов-выходов для управления в системах водоснабжения, отопления, кондиционирования, вентиляции, пищевой промышленности и др.
Графический цветной экран 3,5” позволяет создавать удобные и наглядные интерфейсы пользователей, что значительно упрощает настройку и восприятие информации. А крепление прибора на дверцу шкафа не требует использования панели оператора.
Интерфейс Ethernet позволяет интегрировать прибор в распределенные системы, увеличивать количество входов-выходов с помощью модулей ввода-вывода Мх210, удаленно контролировать и управлять оборудованием с помощью облачного сервиса OwenCloud. В зависимости от модификации у ПР225 предусмотрено до 2-х интерфейсов RS-485. Это позволяет расширить систему с помощью модулей Мх110 для управления исполнительными механизмами или передачи данных на верхний уровень.
Алгоритм работы ПР225 строится пользователем в бесплатной нативной российской среде программирования Owen Logic. Это позволяет создавать уникальные пользовательские алгоритмы и учитывать все особенности системы.
Особенности и преимущества
HMI: графический экран и кнопки
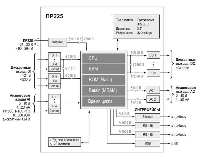
- Графический цветной экран с диагональную 3,5“, 320×480
- 7 механических кнопок с возможностью пользовательской настройки
- 5 светодиодов: 3 сервисных, 2 пользовательских
Оптимальная комбинация входов-выходов
- 4 аналоговых входа: РТ1000, NTC/PTC, 4…20 мА/ 0…10 В, дискретный режим
- 2 универсальных аналоговых выхода: 4…20 мА/0…10 В
- 8 дискретных входов (питание =24 В/ ∼220 В)
- 8 дискретных выходов (Э/М реле и транзисторные ключи)
Коммуникационные возможности
- Интерфейс Ethernet, режим Master/Slave, Modbus TCP:
- Прямой доступ в облачный сервис OwenCloud
- Подключение к ПК для конфигурирования и записи программы
- Настройка в Owen Configurator
- Визуализация процессов с помощью панелей оператора и SCADA
- Увеличение входов-выходов с помощью модулей Мх210
- До 2-х интерфейсов RS-485, режим Master/Slave, Modbus RTU/ASCII:
- Интеграция в SCADA-системы
- Визуализация процессов с помощью панелей оператора
- Увеличение входов-выходов с помощью модулей Мх110
- Управление внешними устройствами: ПЧВ, датчики и др.
- Подключение к ПК для конфигурирования и записи программы
Конструктивные особенности
- Щитовое исполнение 100×100×72
- Съемные клеммники – для удобства монтажа
- Быстрая замена батарейки
Эксплуатация
- 2 модификации по питанию: =24 и ~230 В
- Работа в неотапливаемых помещениях: -20...+55 ºС
- Конфигурирование и запись программы через USB, Ethernet
Отличительные характеристики ПР225


















